• Home
  • Automotive News
TheCruiseCtrlr
SUBSCRIBE
No Result
View All Result
  • Home
  • Automotive News
TheCruiseCtrlr
SUBSCRIBE
No Result
View All Result
TheCruiseCtrlr
No Result
View All Result

Genesis GV90 Could Debut World’s First Rollable OLED Display, Patent Suggests

thecruisectrlr by thecruisectrlr
September 28, 2025
in Blog
0
Genesis gv90 rollable oled screen patent 2
136
SHARES
1.2k
VIEWS
Share on FacebookShare on Twitter

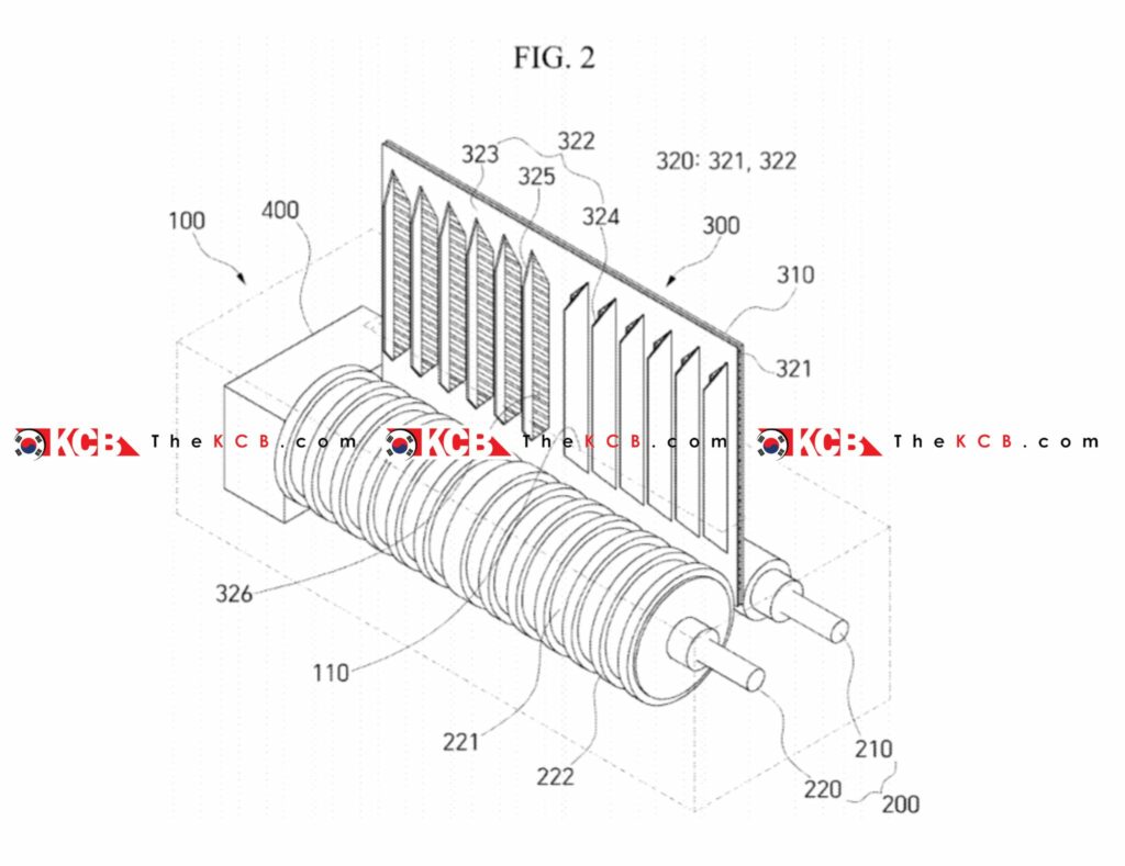
Hyundai Motor Group appears to be gearing up for a revolutionary feature in its forthcoming top-tier luxury SUV, the Genesis GV90. A recent U.S. patent filing reveals the company’s work on a rollable OLED display system tailored for automotive use, potentially marking its first appearance in Genesis’ premium all-electric model.

Innovative Rollable OLED for Automotive Applications

This patented system features a flexible display stored in a sleek, space-efficient housing within the vehicle. The core element is a specialized roller assembly that enables the screen to deploy or retract effortlessly based on the driver’s or passengers’ needs. This contrasts with traditional stationary screens by allowing the display to remain concealed when idle and extend smoothly when activated.

You might also like

Jeep and Chrysler Plug in Hybrid Models are Dead

US Congress introduces ‘SAFE Exit Act’ targeting Tesla door handles after claiming 15 deaths

2027 Kia Telluride Pricing Starts at $40,735

The screen is composed of two primary elements:

  • Screen Component: Captures input signals from external sources to show navigation maps, media content, and key vehicle data.
  • Support Component: Located at the rear of the screen, this framework provides robust stability in all directions, avoiding any bending or warping even during vehicle motion.

Overall, the design merges pliability with resilience, addressing key hurdles in adapting rollable screens for dynamic environments like cars.

Genesis gv90 rollable oled screen patent 2

Insights into the patented rollable mechanism

Reasons the Genesis GV90 Might Pioneer This Tech

As Genesis’ biggest and most sophisticated all-electric SUV to date, the GV90 is an ideal candidate to introduce this advanced feature. Slotted above the GV80, it aims to compete with high-end electric SUVs such as the Mercedes-Benz EQS SUV and BMW iX.

Integrating a rollable OLED display fits seamlessly with Genesis’ vision of fusing state-of-the-art tech with understated opulent interiors. The ability to retract the screen could promote a more streamlined cabin, offering users the choice between engaging digital experiences or a peaceful, minimalistic space.

Advancing Vehicle Infotainment Displays

While car manufacturers have explored expansive curved and wraparound OLED panels, a rollable variant would push boundaries in style and utility. For discerning luxury EV owners, this could deliver:

  • Flexible access to screens for route guidance, streaming, or work-related tasks.
  • Improved interior elegance through hidden integration.
  • Efficient use of space in adaptable seating configurations.

Although Hyundai hasn’t verified the GV90’s inclusion of this tech, the patent indicates that rollable OLED is progressing from prototype to potential real-world implementation.

Previous Post

Hyundai IONIQ 9 XRT Test Mule Spotted in California

Next Post

Ford Mustang Hybrid rumoured to be in development

thecruisectrlr

thecruisectrlr

Related Posts

Jeep and Chrysler Plug in Hybrid Models are Dead

Jeep and Chrysler Plug in Hybrid Models are Dead

by thecruisectrlr
January 9, 2026
0

Just a few years ago, Jeep celebrated the Wrangler 4xe as America's top-selling plug-in hybrid vehicle, positioning it as a...

US Congress introduces ‘SAFE Exit Act’ targeting Tesla door handles after claiming 15 deaths

US Congress introduces ‘SAFE Exit Act’ targeting Tesla door handles after claiming 15 deaths

by thecruisectrlr
January 9, 2026
0

A proposed U.S. House bill takes direct aim at Tesla—and CEO Elon Musk—over concerns that electric vehicle (EV) door designs...

2027 Kia Telluride X-Pro

2027 Kia Telluride Pricing Starts at $40,735

by thecruisectrlr
January 9, 2026
0

Meet the 2027 Kia Telluride: Redesigned with More Power, Space & Adventure-Ready Tech Kia’s flagship three-row SUV is back with...

Toyota Officially Spins Off Gazoo Racing As A Standalone Performance Brand

Toyota Officially Spins Off Gazoo Racing As A Standalone Performance Brand

by thecruisectrlr
January 8, 2026
0

Gazoo Racing becomes the fifth Toyota brand, joining Toyota, Lexus, Daihatsu, and Century. The GR GT debuts without Toyota badging,...

Next Post
2025-ford-mustang-gtd (2)

Ford Mustang Hybrid rumoured to be in development

Leave a Reply Cancel reply

Your email address will not be published. Required fields are marked *

Related Post

Hyundai tucson xrt

Next-Gen Hyundai Tucson XRT Spied with Hybrid Powertrain for the First Time

December 8, 2025
The Lexus LFA Is Back

The Lexus LFA Is Back

December 6, 2025
Genesis Celebrates 10th Anniversary with New Design Studio Opening in California

Genesis Celebrates Its 10th Anniversary with the Opening of a New Design Studio in California

October 11, 2025

Category

  • Automotive News
  • Blog

About

Welcome to TheCruiseCtrlr—your go-to spot for all things automotive! We cover the latest news, cool car reviews, and electric vehicle (EV) updates. Think of us as your friendly pit crew, bringing the hottest rides and road stories straight to you every day!

Recent Posts

  • Jeep and Chrysler Plug in Hybrid Models are Dead
  • US Congress introduces ‘SAFE Exit Act’ targeting Tesla door handles after claiming 15 deaths

© 2026 JNews - Premium WordPress news & magazine theme by Jegtheme.

Social Media Auto Publish Powered By : XYZScripts.com
No Result
View All Result
  • Automotive News
  • Contact Us

© 2026 JNews - Premium WordPress news & magazine theme by Jegtheme.